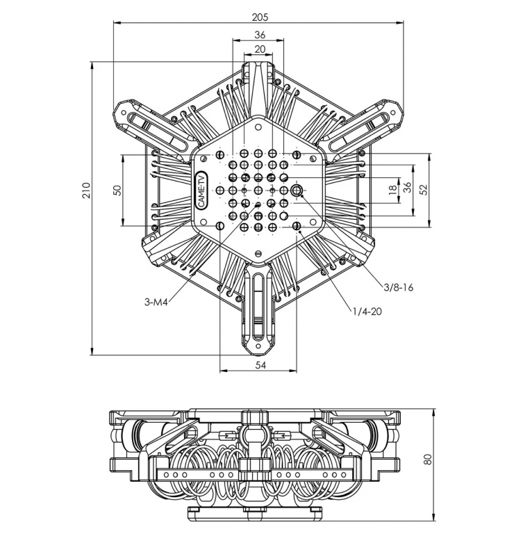
The new CAME-TV GS-Starship Isolation Mount with Shock Absorbers is suitable for the entire series of DJI Ronin stabilizers. The top and bottom plates are made from the same piece of aluminum plating that has been CNC machined, with 1/4″-20 threaded holes.

Application Scenarios

Aerial Cable Photography: 4 anti-fall safety cables are used to ensure safety during aerial cable use. A rubber shock absorber ring is incorporated to more effectively reduce high-frequency vibrations.

Drone Mounting: The Starship shock absorber can be mounted onto drones to stabilize the camera during aerial photography.

Vehicle Mounting: The shock absorber can also be fixed onto vehicles to provide stability for shooting while on the move.
Design Features
The top and bottom plates are made from the same piece of aluminum plate that has been precision CNC machined, with a large number of 1/4″-20 threaded holes. You could use this isolation rig for car rigs, drones, aerial cables, cranes, yachts, skiing and sliders.
Compatibility
The Starship shock absorber is suitable for the entire series of DJI Ronin stabilizers, including the Ronin MX, Ronin S, S2, SC2, S3, S3 Pro, S4, S4 Pro, and the full series of Zhiyun single-handed electronic three-axis stabilizers.
Specifications
- Weight: 1 KG (2.20 Pounds)
- Packaging Dimensions: 25 cm x 25 cm x 10 cm (9.84 inches x 9.84 inches x 3.94 inches)
- Maximum load-bearing capacity of 10KG
Price & Availability
The CAME-TV GS-Starship Isolation Mount with Shock Absorbers is now available to purchase for $488 USD.






