Tamron has been issued a patent in Japan for a 28-70mm F2 lens. The patent was granted today (30th October 2025) after being applied for back in April last year.
According to the patent, Tamron wants to provide a zoom lens that can be miniaturized as a whole while having a large aperture ratio and in which various aberrations are satisfactorily corrected in the entire zoom region, and to provide an imaging apparatus including the zoom lens.
[Means for solving] According to an aspect of the present invention, there is provided a zoom lens including, in order from an object side, a first lens group having a positive refractive power, a second lens group having a negative refractive power, an intermediate group including one or more lens groups and having a positive refractive power as a whole, an (n-1) th lens group having a negative refractive power, and an nth lens group.

It is interesting that Tamron now wants to make a 28-70mm F2, but they are probably wanting to bring out a more affordable solution than the Sony FE 28-70mm f/2 GM Lens (Sony E), and Canon has the RF 28-70mm f/2 L USM Lens.
Below you can read further details of the patent:
Imaging devices using solid-state imaging sensors, such as digital still cameras and digital video cameras, are widely used. In particular, interchangeable-lens imaging devices, such as SLR cameras and mirrorless cameras, allow photography with various angles of view, brightness levels, and depths of field by changing lenses. For these interchangeable lenses, large-aperture lenses are increasingly desired in recent years to achieve brighter images and utilize bokeh effects. However, conventional zoom lenses often have maximum apertures around F2.8 even when bright. To achieve greater brightness, photographers often have no choice but to select prime lenses. However, prime lenses have fixed focal lengths, leading to several inconveniences: the range of shootable subjects is limited; changing focal lengths requires the hassle of swapping lenses; and carrying multiple lenses with different focal lengths is necessary. To solve these problems and improve convenience, large-aperture zoom lenses are highly desired.
Furthermore, with the increasing popularity of compact mirrorless cameras lacking mirrors or optical viewfinders, there is a demand not only for smaller camera bodies but also for smaller lenses. However, attempting to achieve a large-aperture zoom lens results in larger lens and aperture diameters, increasing the overall length of the zoom lens. Additionally, the drive mechanisms and other components also become larger, leading to the problem of the entire lens unit, including the barrel section, becoming bulky.
To achieve a compact zoom lens, it is necessary to reduce the aperture diameter, the diameter of the lens closest to the subject, and the diameter of the lens closest to the image, as well as to shorten the overall length of the zoom lens. Furthermore, to achieve overall miniaturization of the lens unit including the barrel section, it is desirable to position the focus drive mechanism, aperture unit, and various mechanical components within the lens unit at locations where the optical system diameter is smaller. This necessitates creating an area where lenses with smaller outer diameters are placed. Furthermore, if the focus group is heavy, a drive mechanism with a large driving force becomes necessary, making it difficult to miniaturize the entire lens unit including the barrel section. Therefore, miniaturizing the focus group is also necessary.
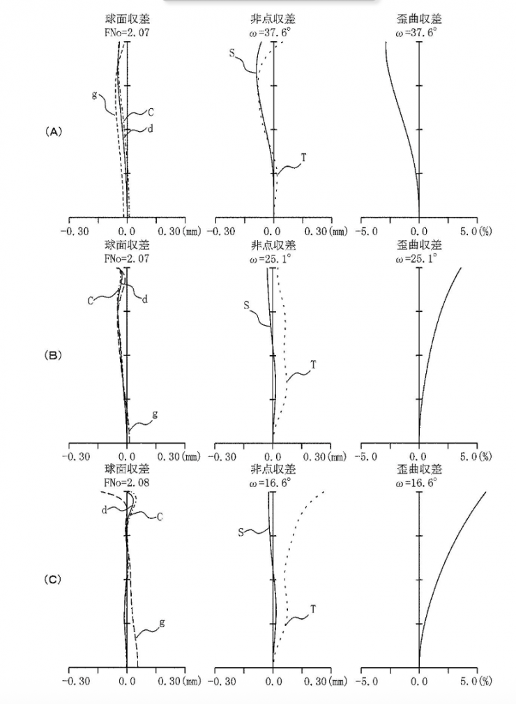
Here, for positive-lead zoom lenses with a large aperture ratio of an F-number around 2.0, Patent Documents 1 and 2 are known. For example, in Patent Document 1, Example 1 proposes a large-aperture zoom lens with an F-number of 2.06. From the object side, it comprises a first lens group with positive refractive power, a second lens group with negative refractive power, a third lens group with positive refractive power, and a fourth lens group with positive refractive power. Furthermore, in Patent Document 2, for example in Example 1, a zoom lens with a large aperture ratio and an F-number of 2.06 is proposed. It is composed, in order from the object side, of a first lens group having positive refractive power, a second lens group having negative refractive power, a third lens group having positive refractive power, a fourth lens group having positive refractive power, and a fifth lens group having negative refractive power.
However, in the zoom lens of Patent Document 1, while the image-side lens in the second lens group has a relatively small outer diameter, lenses with high axial ray height and large outer diameters are continuously arranged from the third lens group to the object-side of the fourth lens group. As a result, it becomes difficult to secure space for the focus drive mechanism, aperture unit, and various mechanical components in the smaller diameter region within the entire lens unit, including the barrel section. This leads to the problem of the entire lens unit, including the barrel section, becoming large. Furthermore, the second lens group, which is the focus group, has a large number of lenses (five), making the focus group heavy. This necessitates a drive mechanism with a large driving force, leading to the problem of the entire lens unit, including the barrel section, becoming large.
The present invention was made in view of these circumstances. The present invention aims to solve the above-mentioned problems, enable the miniaturization of the entire zoom lens despite a large aperture ratio, and provide a zoom lens with excellent correction of various aberrations across the entire zoom range, as well as an imaging device equipped with said zoom lens.










