Panasonic has had a patent issues for a box-style camera with a handgrip. This is hardly anything revolutionary and it looks to be loosely based on the designs of the BG1 and BGH1, but with a handgrip and a rear screen.

Essentially, if you had through all of the patent language, its a box-style camera with a rear touch-screen and a handgrip that you put a battery in that will power and offer control over functionality.
Panasonic’s digital cinema division is no more and this camera, if it ever makes it to market, would presumably be branded under the LUMIX name.
The Patent
The patent was applied for on the 26th October 2023 by Panasonic Intellectual Property Management Co Ltd and it was granted on the 15th of April 2024 and published on the 2nd of May 2024. Now, if you didn’t know, Panasonic is actually one of the largest patent holders in the world, with more than 188,000 patents.

In Panasonic’s patent application they stated that the above stationary imaging device (which was already granted a patent & subsequently became the BGH1), does not take into consideration realization of two types of shooing style that are fixed shooting and hand-held shooting. Assuming that the stationary imaging device can realize these two types of shooting style, the stationary imaging device can provide a user with various shooting styles for the user. The stationary imaging device is however designed to be used for fixed shooting as a precondition and, especially, when the box camera is directly griped and hand-held shooting is thereby executed, the griping itself tends to be unstable. Furthermore, for example, the user’s fingers touch the lens, and the focus and the aperture value may thereby be varied, or the fingers may cover the lens to be shot, and the hand-held shooting is therefore difficult. Devices such as a large-scale optional item are therefore necessary in the case where hand-held shooting is tried to be executed using the stationary imaging device.

They go onto to say, Therefore, the present disclosure provide an imaging device capable of easily realizing two types of shooting style. An imaging device in one aspect of the present disclosure includes a camera main body that includes a housing, an imaging sensor that is disposed inside the housing and that converts light into an electric signal, a grip part that is attachable and detachable to/from the housing, and an output part that outputs an imaged image based on the electric signal. In an attachment and detachment direction of the grip part, the imaging sensor is disposed in the central portion of the housing

The imaging device comprises at least one of a displaying part that displays the image and a connection part that connects to an external displaying part. The imaging device, where int he camera main body comprises a first connector that transmits and receives a signal, where in the grip part comprises a second connector that transmits and receives a signal; and a battery that is held inside the grip part, and where in the second connector of the grip part is connected to the first connector of the camera main body and electric power is thereby sent from the battery to the camera main body. The imaging device, where in the camera main body comprises a terminal for electric power to be externally supplied therethrough, and where in the camera main body does not comprise any battery attachment part to attach a battery thereto, in the housing and on the outer side faces of the housing.
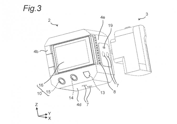
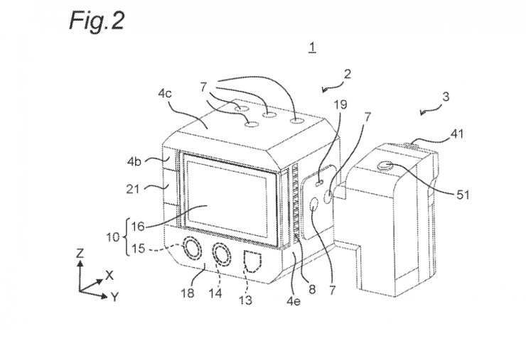
The grip part includes a shutter button, a second connector, a screw, a protrusion, a dial, a function button, and a battery. The second connector of the grip part is a member that transmits an operational signal from the grip part to the camera main body.
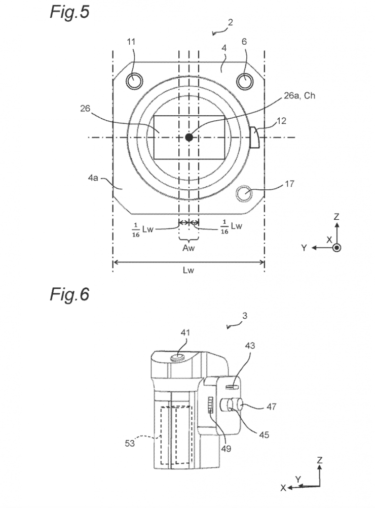
The camera main body of the embodiment is a camera of the type called “box camera”. The box camera is different from the traditional single-lens camera to have an imaging sensor located in the central portion of the housing in the right-left direction. Plural holes for installing the camera main body are located on the outer side face of the camera main body.
As depicted in FIGS. 1 to 3 , the housing of the camera main body to which the interchangeable lens is attached has a box-like shape and has, for example, a substantially hexahedral shape. In the embodiment, the housing has a substantially cubic box-like shape. Because the camera main body has the box-like shape as above, the camera main body is usable in a small space in the case where the camera main body is used by itself.

The design also shows mounting points for external microphones or other accessories, as well as mount for attaching an external hard drive that can be connected to the camera via USB-C.
A female LAN terminal can be connected to an external controller through a LAN cable and the imaging by the camera main body can be controlled by an external controller. The power source can be supplied through a LAN cable. In addition, transmission and reception of a time code, a genlock, USB, HDMI, Ethernet, audio input and output signals may be executed therethrough.
Electric power can be externally supplied to the camera main body by connecting a power source input cable to the power source input terminal.
A still image or a moving image imaged by the camera main body can be output to an external monitor or an external controller using, for example, an SDI signal.
The control terminal, the power source input terminal, and the video image output terminal are located each directed obliquely downward and, when a cable is connected to any of these terminals, the cable therefore droops obliquely downward and does not consequently obstruct any operation for the displaying part.
The displaying part is supported by a rotation mechanism of, for example, a free angle type is located in the central portion of the second face. The displaying part displays thereon a video image imaged by the camera main body and an operation menu for the camera main body. The displaying part is also acts as a touch panel and also has a function as an operating part that instructs an imaging operation to the camera main body. The displaying part is, for example, a liquid crystal touch panel display.
The imaging sensor includes, for example, a CCD image sensor, a CMOS image sensor, or an NMOS image sensor. Predetermined image processing is applied by an image processing circuit to the image data formed by the imaging sensor. The image data to which the predetermined image processing is applied is stored in a memory by a control circuit and is output based on an instruction from an external device. A circuit substrate holding the electric circuits such as the image processing circuit, the control circuit, and a power source circuit is held inside the housing.
Thoughts
Panasonic has always made some interesting cameras, but their recent offerings have always seemed to be too late to the party. The Varicam LT and EVA-1 were good cameras, but they were never that successful because people had already invested in similar cameras from other manufacturers that came out earlier.
The BG1 and BGH1 were not really designed to be digital cinema cameras, and again, they were not very popular choices. Building a box camera with a screen and a hand grip is likely to attract some interest, but again Panasonic is likely to face stiff competition from similar cameras that are already out in the market.

