Panasonic Intellectual Property Management CO., Ltd., Osaka (JP) has had a United States patent application published for an internal rotatable filter system in a camera with a CCD or CMOS sensor. The application was originally submitted on November 25th, 2022.

The first part of the patent application talks about two filters that can be moved in front of and out of the way of an imaging surface:
The present disclosure facilitates access to an imaging surface of an imaging element in an imaging apparatus in which a plurality of optical filters are selectively arranged in front of the imaging surface of the imaging element.
An imaging apparatus includes an imaging element including an imaging surface on which light from a subject is incident, a first filter unit including a first optical filter, a second niter unit including a second optical filter, and a drive mechanism that drives each of the first and second filter units between a filtering position in front of the imaging surface and a retracted position deviated from the imaging surface. The filter unit drive mechanism selectively executes an interlocking mode in which one of the first and second filter units is interlocked so as to be located at the retracted position, and a single motion mode in which one of the first and second filter units is maintained in a stopped state at the retracted position and the other one is driven.

The patent goes on to describe: For example, WO 2021/200141 A discloses an imaging apparatus including a filter unit whose light transmittance can be changed. The filter unit includes a plurality of different optical filters and a disk that supports the plurality of optical filters. The plurality of optical filters are provided on the disk side by side in the circumferential direction around the rotational center line of the disk. As the disk rotates, one optical filter is disposed of in front of an imaging surface of an imaging element.
The summary of the invention then goes on to say:

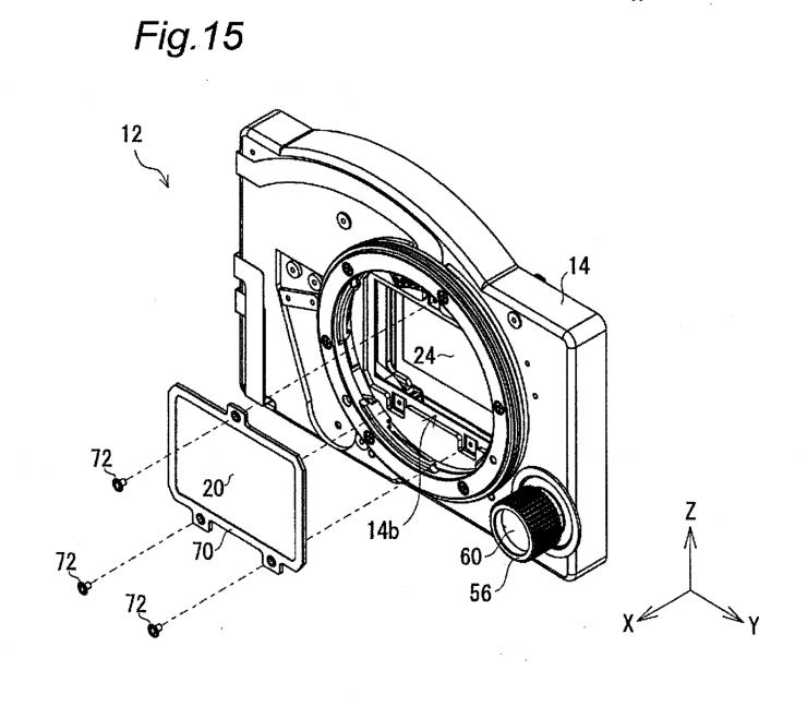
If I am reading this correctly, the patent is basically based on the fact that Panasonic states that the imaging surface of an imaging element can not be accessed if there are filters in front of it so that it gets dust, etc., on it, it can’t be cleaned. Therefore, if you make a filter system that rotates out of the way, you solve that issue.

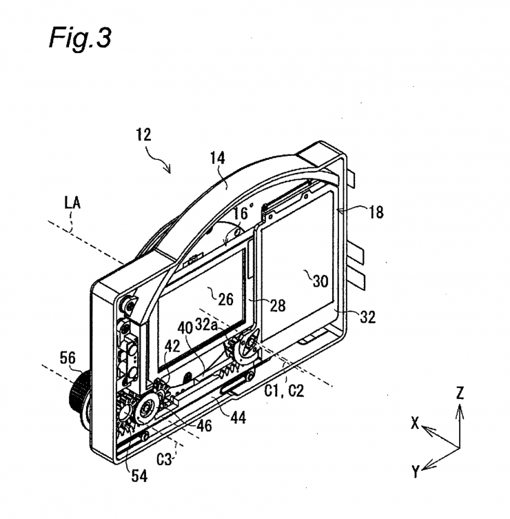
The patent goes on to say: In the case of the present embodiment, the first optical filter 26 is an electronic ND filter such as a liquid crystal filter whose light transmittance can be changed. The light transmittance of the first optical filter 26 is changed by changing the driving voltage applied to the first optical filter 26. The second optical filter 30 is a filter such as glass, whose light transmittance cannot be changed, that is, the light transmittance is fixed. In the case of the present embodiment, the first and second optical filters 26 and 30 have a rectangular shape similar to the imaging surface of the imaging element in the imaging module 22.
You will notice that the patent also shows a dial on the front of the camera that can be used to move the filters into and out of position. It is unclear as to whether you also use this to adjust the amount of electronic ND.
Essentially the patent is for the following:


This is an interesting patent application and I wouldn’t read too much into it at this stage. It hasn’t been granted and it essentially is just another way of using a rotatable filter system inside a camera. It is, however, interesting that Panasonic does mention electronic ND and they are showing the filter mechanism inside what appears to be a large-sized mirrorless hybrid body. Whether or not something like this finds its way into a future Panasonic release will be interesting to see as I am sure a lot of shooters would love to have an internal electronic ND system in a mirrorless hybrid.





